Skip to main content

Specification Data Sheet

The Australian Made Galvin Specialised CliniLever® Hospital Washing Machine Tap is specifically designed for hospital and medical wash areas. The innovative design helps to combat the risk of hospital acquired infections and minimise bacteria risk while providing a time and cost effective solution to maintenance.

Features

  • Suitable for retro fit to existing wall breach
  • Contra-rotating handles for easy use
  • Smooth round design to facilitate easy cleaning and help reduce dirt and bacterial growth
  • High quality chrome finish for easy cleaning and hygiene maintenance 
  • Australian Made; therefore, spare parts and support are available locally, reducing maintenance and downtime costs

Technical Information

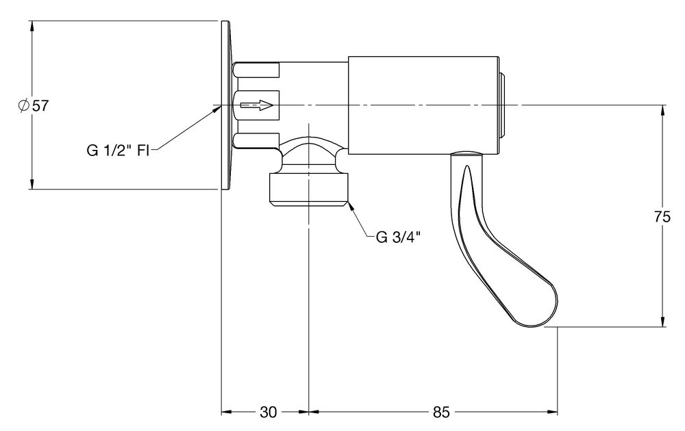
  • WaterMark: AS 3718 Lic. WMKA0034
  • Inlet: G 1/2" - Female
  • Outlet: G 3/4" - Male
  • Headworks: Ceramic Disc
  • Working Pressure Range (kPa): Min 50 - Max 500 
  • Maximum Working Temperature (°C): Min 5 - Max 65
  • Finish: Chrome

Alternative Product Options

  • 102.26.22.02 CliniLever® CP-BS Lead Safe™ Hospital Washing Machine Tap 80mm Lever C/D - Hot
  • 102.26.12.02 CliniLever® CP-BS Lead Safe™ Hospital Washing Machine Tap 80mm Lever J/V - Hot

Superseding Products

  • TCWMC80CC CliniLever® CP-BS Hospital Washing Machine Tap 80 C/D Cold

Environmental Sustainability

We are ISO 14001 certified and take sustainability seriously. Our products are environmentally responsible designed to be healthier for users, save water and/or energy, and minimise carbon footprint. Our target is to reduce our carbon footprint by 25%, and the use of non-recyclable/non-compostable materials across the company (e.g. plastics) by 50%.

Warranty

Galvin Engineering products are covered under our Manufacturer's Warranty. Galvin Engineering products must be installed in accordance with the installation instructions and in accordance with AS 3500 and NCC Volume Three, relevant Australian Standards and local authorities applicable to product being installed. Water and electrical supply conditions must also comply to the applicable national and/or state standards, failing to comply with these provisions may void the product warranty and affect performance of the product.

Please visit www.galvinengineering.com.au to view the full warranty, our Installation Compliance and Maintenance & Cleaning information as well as any other additional information.

While all reasonable care has been taken in compiling the information in this document, the designs, dimensions and products shown are indicative only and should not be relied upon without our prior approval. Due to our policy of continuous development, we reserve the right to alter any details of specifications or products without notice. All information, drawings, technical specifications and product designs remain the property of Galvin Engineering Pty Ltd.

Our Lead Safe™ product range is compliant with the Lead Free Requirements of the NCC 2022 Vol. Three, Clause A5G4(2) and NSF/ANSI 372.